على مر السنين، قدمت شركة آبل العديد من براءات الاختراع لتصميم الأجهزة القابلة للطي، إلا أنها لم تطلق أي جهاز فعلي حتى الآن، ورغم كثرة الشائعات التي انتشرت حول إطلاق أول جهاز قابل للطي من آبل، إلا أن الشركة استمرت في تأجيل ذلك.
لكن في تطور جديد، حصلت آبل مؤخرًا على براءة اختراع جديدة رقم 12,164,344 تحت عنوان “مفصلات لأجهزة العرض القابلة للطي”، ما قد يشير إلى خطوة كبيرة نحو دخول الشركة عالم الأجهزة القابلة للطي.
تفاصيل البراءة الجديدة
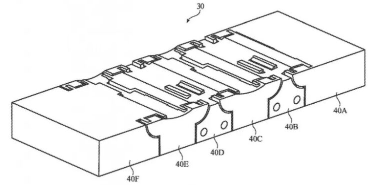
تصف براءة الاختراع الأخيرة تصميمًا مبتكرًا لمفصلة تعتمد على سلسلة من الروابط المترابطة التي تحتوي على “أصابع” متشابكة وقابض احتكاك، هذا التصميم يتميز بفتح هلالية الشكل تسمح لكل رابط بالدوران بالنسبة للروابط الأخرى، مما يعزز من حركة المفصلة، الميزة الأكثر أهمية في هذا التصميم هي أنها تبتعد بمحور الدوران عن الرابط ذاته، ما يعزز كفاءة الحركة ويضمن أداءً أكثر سلاسة.
ويشير تصميم البراءة إلى استخدام هذه المفصلة في مجموعة واسعة من الأجهزة، بما في ذلك الهواتف الذكية، والأجهزة اللوحية، والحواسب المحمولة، والساعات الذكية، بالإضافة إلى الأجهزة القابلة للارتداء.
لم تقدم آبل تفاصيل دقيقة حول ما إذا كان هذا التصميم الجديد هو تحسين للمفصلات التي حصلت على براءات اختراع في السابق، أو ما إذا كانت ستستخدم هذه المفصلة في أجهزة جديدة تمامًا.
ومع ذلك، أوضح الوصف المرفق بالبراءة آلية التفاعل بين الأصابع والدبابيس والتروس داخل المفصلة، حيث يتم إنشاء قابض صغير ولكنه قادر على توفير احتكاك مناسب يسمح بتدوير المفصلة بمعدلات متساوية، هذه الآلية تتيح طي الجهاز بزوايا محددة بدقة، ما يعزز من كفاءة ومرونة الأجهزة القابلة للطي.
تسعى آبل حاليًا إلى تطوير أجهزة قابلة للطي مثل iPhone وiPad أو حتى MacBook قابلة للطي، وتُعتبر هذه الأجهزة خطوة هامة في تحول تصميمات الأجهزة المحمولة إلى حلول أكثر مرونة وقابلية للاستخدام في أوضاع متعددة.
ومع ذلك، يُتوقع أن تواجه آبل العديد من التحديات التقنية، لا سيما فيما يتعلق بتصميم الشاشة والمكونات الميكانيكية مثل المفصلات.
وقد أشار المحلل التقني Ming-Chi Kuo إلى أن أبرز التحديات التي قد تواجهها آبل تكمن في ضمان متانة الشاشة، وتوفير آلية مفصلة متينة بما يكفي لتحمل الاستخدام اليومي.

إن الحصول على براءة الاختراع لمفصلة مبتكرة يعد خطوة محورية في تطوير هذه الأجهزة، ولكن يبقى السؤال حول متى ستتمكن آبل من تجاوز التحديات التقنية لتقديم أول جهاز قابل للطي في السوق.
وتشير التقارير إلى أن الشركة قد تطلق أول أجهزة قابلة للطي في المستقبل القريب، وربما يكون ذلك في أحد إصدارات iPhone أو iPad أو حتى جهاز MacBook الذي يمكن طيه، مما يتيح للمستخدمين الاستفادة من شاشات أكبر في تصميمات أكثر مرونة.
تواجه آبل منافسة شديدة في سوق الأجهزة القابلة للطي، حيث تعد شركات مثل سامسونج وهواوي من أبرز الشركات التي تمكنت من إطلاق أجهزة قابلة للطي حققت نجاحات في السوق، لذا، من المتوقع أن تقدم آبل جهازًا قابلاً للطي يحمل تقنيات مبتكرة وتغطي فجوة في السوق من خلال تحسين تجربة المستخدم، مما يساهم في تعزيز مكانتها في هذه الفئة التكنولوجية المتقدمة.
من خلال هذه البراءة، تظهر آبل مرة أخرى التزامها بتطوير تكنولوجيا مبتكرة تمهد الطريق للجيل التالي من الأجهزة القابلة للطي، وعلى الرغم من أن الشركة لم تكشف بعد عن تفاصيل حول توقيت إطلاق هذه الأجهزة، إلا أن هذا الاختراع يعزز من توقعات المحللين حول قرب دخول آبل إلى هذا المجال.



















